Normaler PreisCHF 38.60
/
Varianten:

X
Position
Typ
90mm lang
Price

Qualität und Verpackung Top
Die Qualität ist sehr gut und die Verpackung professionell. Gerne unterstützen wir ein Schweizer Unternehmen und kommen wieder!
Remo Stutz

Immer gerne wieder!
Habe schon öfters bei Sanitär Schweiz bestellt und die Erfahrung war immer angenehm. Produkte passen perfekt.
Marco Fritsche

Sparpotenzial!
Habe für Top-Marken bis zu 30% gespart und war zudem überrascht, wie schnell die Bestellung geliefert wurde. Sanitär Schweiz hat das Material für die komplette Bad-Renovation geliefert.
Luis Da Silva
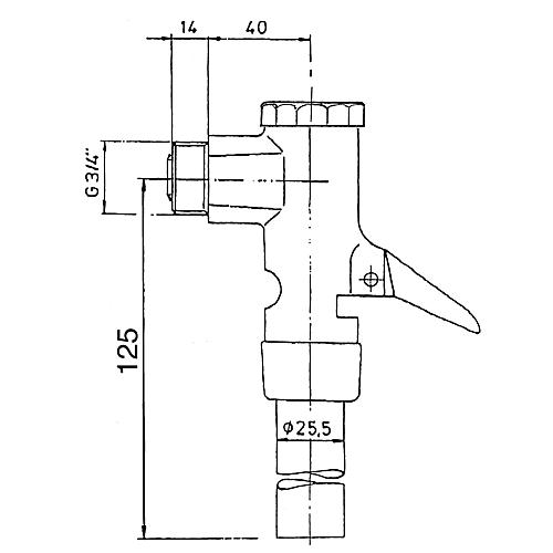
• Maßangaben in mm
Technische Daten
passend für Marke: | BENKISER |
Hersteller Art-Nr.: | 0870102 |
Typ: | Ablauf komplett für WC-Druckspüler 3/4", 90mm lang |
Position: | 6 |
Marke: | Benkiser |
Bestellung werden direkt bearbeitet und von unserem Lager in Volketswil aus versendet.
Voraussichtliche Lieferung: -
Für dieses Produkt gibt es keine Downloads.